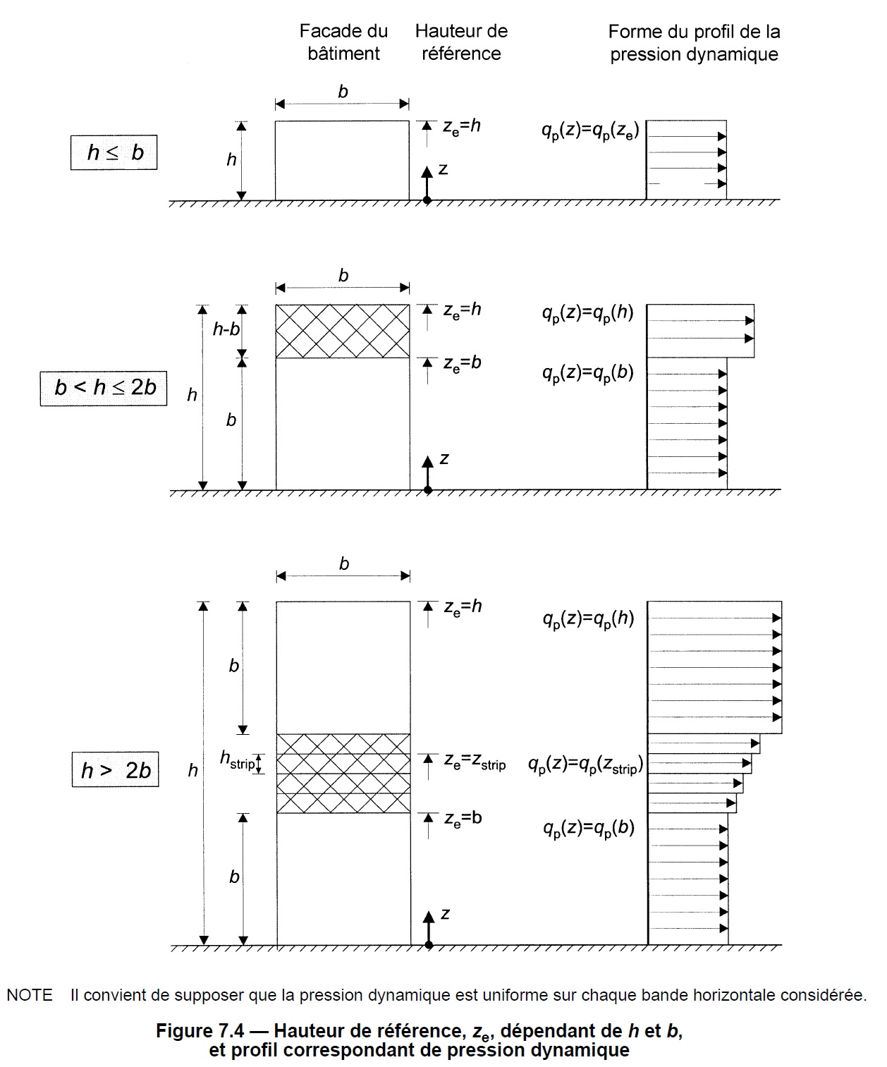
L’Eurocode EN1991-1-4 7.2.2 prévoit que l’action du vent sur mur de bâtiment rectangulaire est majorée sur la hauteur de la façade selon les dimensions h, hauteur du bâtiment, et , largeur du bâtiment au vent:

Cette option est activée avec l’option « majoration sur mur EC1-4 7.2.2 » de la page de dialogue « bâtiment – climat » (version 6.039). A défaut, le calcul de pression est calculé selon la hauteur z par rapport au sol.

Exemple de calcul selon EN1991-1-4 7.2.2

Avec et sans majoration selon 7.2.2 pour un bâtiment de dimension Lx=4m, H=20m avec un vent Vy
Téléchargement des exemples dans ZIP.
